统计211

 找回密码
 立即注册

QQ登录

只需一步,快速开始

查看: 5221|回复: 3
打印 上一主题 下一主题

[违规] 2013年7月13日 封禁ID--sky11111

[复制链接]
跳转到指定楼层
1
发表于 2013-7-23 12:12:16 | 只看该作者 回帖奖励 |倒序浏览 |阅读模式
   
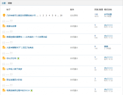
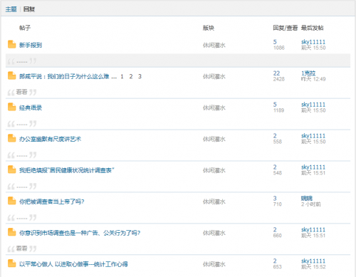
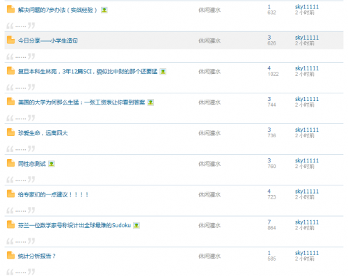
废话不多说,严厉打击恶意灌水!发现一例封禁一例!

图像 6.png (5.4 KB, 下载次数: 0)
图像 1.png (37.51 KB, 下载次数: 0)
图像 2.png (37.17 KB, 下载次数: 0)
图像 3.png (33.74 KB, 下载次数: 0)
图像 4.png (31 KB, 下载次数: 0)
图像 5.png (34.2 KB, 下载次数: 0)
分享到:  QQ好友和群QQ好友和群 QQ空间QQ空间 腾讯微博腾讯微博 腾讯朋友腾讯朋友
收藏收藏 转播转播 分享分享 分享淘帖 支持支持 反对反对
2
发表于 2013-7-23 18:55:54 | 只看该作者
霸气
3
发表于 2013-7-26 16:57:47 | 只看该作者
亲,为了凑够统计币,感觉发什么都像是灌水啊!报着这个心态的话,都不知道说不说话啦。请指点
4
发表于 2013-7-26 19:05:31 | 只看该作者
额,这个如何界定呢?如果听一堂课要100统计币,那么大多数人光凭偶尔的回复肯定是没有那么多统计币的。那么就是明摆着上培训班是为了收费。一学时超过100人,一学时1000块钱?感觉这么推广论坛,对论坛的发展不一定有好处,尤其在大家都习惯了免费获取,或者少付出多获取的方式。
您需要登录后才可以回帖 登录 | 立即注册

本版积分规则


免责声明|关于我们|小黑屋|联系我们|赞助我们|统计211 ( 闽ICP备09019626号  

GMT+8, 2025-12-18 01:44 , Processed in 0.081915 second(s), 24 queries .

Powered by Discuz! X3.2

© 2001-2013 Comsenz Inc.

快速回复 返回顶部 返回列表